Shopping Cart
Checkout
MENU
Home
Vehicle Search
Brands
About Us
Contact Us
Shopping Cart
ACCOUNT
Email
Password
Or
Sign Up
VEHICLES
Vehicle Search
Previous Searches
CART
Shopping Cart
Your Shopping Cart is Empty
Checkout
Getting Search Results .... Please Wait
See All Search Results
Ford
>>
Focus
>>
LR
>>
2.0 Litre 4 Cyl EDDB DOHC 16v
>>
FXXWP 09/2002 - 04/2005 4 Door Sedan
>> Nason Piston & pin set
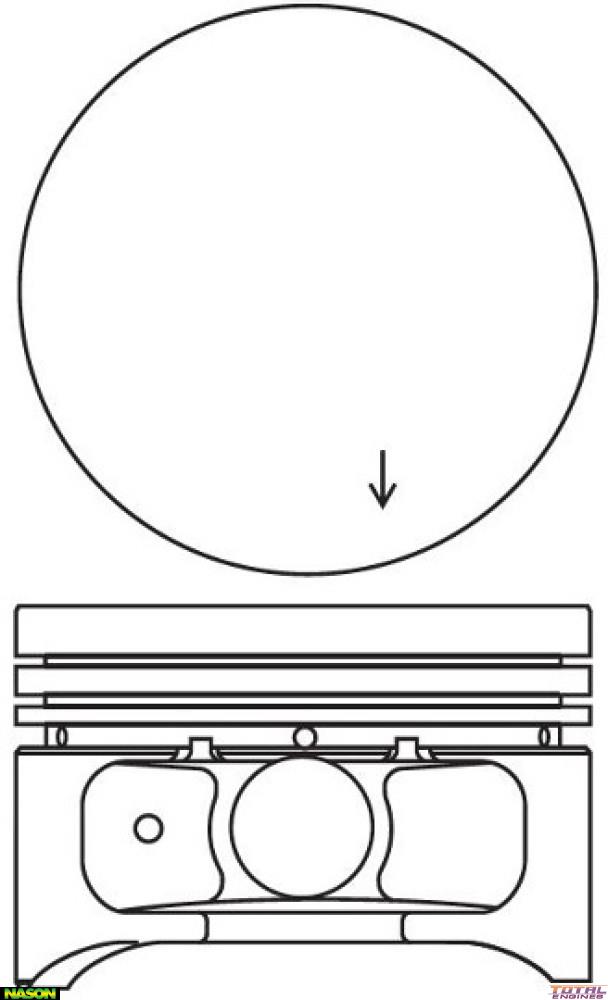
Nason Piston & pin set Fits Ford Focus LR FXXWP Sedan [09/2002 to 04/2005] (2.0L EDDB 4 Cyl DOHC MPFI)
Nason Piston & pin set
Out Of Stock
Specifications
Piston Set:
4 x Piston & Pins
Std Bore Size:
84.80mm
Size:
1.00mm / .040"
Head Type:
Flat Top
Piston Type:
Cast
Length:
57.00mm
Comp Height:
33.00mm
Pin Size:
20.64mm x 62.00mm
Pin Type:
Press Fit
Skirt Coating:
No
Piston to Bore:
See Label on Box
Top Ring Width:
1.50mm
2nd Ring Width:
1.75mm
Oil Ring Width:
3.00mm
Ring Set:
2M4887
Size:
1.00mm Oversize
This part will fit the following Vehicles:
Ford Focus
LR
(2.0 Litre 4 Cyl EDDB DOHC 16v):
AXXGC FWD Hatchback 4 Door [09/2002 to 04/2005] 85KW With Auto or Manual Transmission
AXXWP FWD Hatchback 4 Door [09/2002 to 04/2005] 85KW With Auto or Manual Transmission
FXXWP FWD Sedan 4 Door [09/2002 to 04/2005] 85KW With Auto or Manual Transmission
Description
Nason, 1.00mm Oversize