Shopping Cart
Checkout
MENU
Home
Vehicle Search
Brands
About Us
Contact Us
Shopping Cart
ACCOUNT
Email
Password
Or
Sign Up
VEHICLES
Vehicle Search
Previous Searches
CART
Shopping Cart
Your Shopping Cart is Empty
Checkout
Getting Search Results .... Please Wait
See All Search Results
Nason
>> Nason Piston & Pin Set - 4P1245-STD
Nason Piston & Pin Set - 4P1245-STD
Nason Piston & Pin Set - 4P1245-STD
Out Of Stock
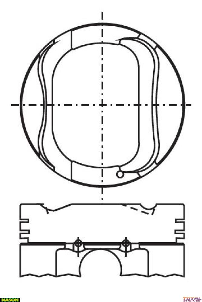
Specifications
Piston Set:
4 x Piston & Pins
Std Bore Size:
78.00mm
Head Type:
Dish Top with 4 Valve Reliefs
Piston Type:
Cast
Length:
63.00mm
Comp Height:
32.40mm - 4.30mm
Pin Size:
20.00mm x 61.00mm
Pin Type:
Press Fit
Skirt Coating:
No
Piston to Bore:
See Label on Box
Top Ring Width:
1.50mm
2nd Ring Width:
1.50mm
Oil Ring Width:
3.00mm
Ring Set:
2C4737 or 4737
Description